The Black Triangle Patent – US PATENT 20060145019A1

The whole patent and schematics are here. The designer is/was John Quincy St. Clair who was a very busy bee for a few years. There’s a list of his other patents here. This one was issued back in 2006.

The guy might have been eccentric. A crazy conspiracy idea I’ve just had is he could have been applying for the patents to see what response he got. For example, someone from the patent office saying the technology has already been patented would be fun.

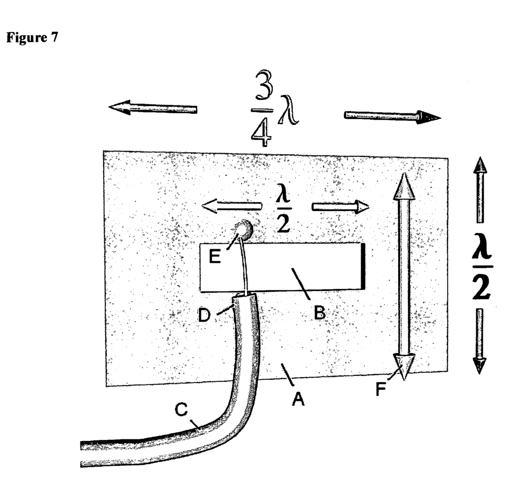
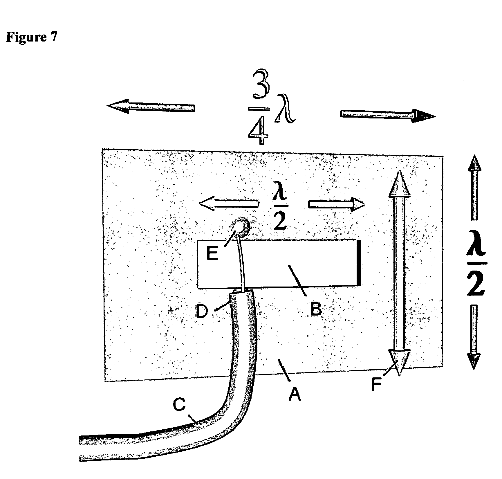
1. A spacecraft comprised of the following components:

(a) a triangular hull in the form of an equilateral triangle;

(b) two copper plates attached on opposite vertical sides at each of the three corners of the hull (1a) such that a sharp vertical edge is formed where they come together;

(c) an electrostatic generator used to charge the back two copper-cladded corners (1b) to a high positive voltage, and the third forward copper-cladded corner to a high negative voltage;

(d) a horizontal slot antenna array mounted-on the sides of the hull; and (e) a frequency generator, antenna and coaxial cables to drive the antenna array (1d).

2. To create, by claims (1a, 1b, 1c), an intense vertical line charge at the corners (1b) and a horizontal electric field that that is parallel to the sides of the hull (1a);

3. To create, by claims (1d,1e), an electromagnetic wave with a vertically polarized electric field traveling outward from the side of the hull (1a); and

4. To create, by claims (2,3), an interaction of the electrostatic field (2) with the electromagnetic wave (3) such that a combined spacetime curvature pressure is generated on the hull in the upward and forward direction to produce lift and propulsion respectively.

Your opinion?
  • Not Alien (5)
  • Real (2)
  • Fake (0)
LUFOS

View Comments

Share
Published by
LUFOS

Recent Posts

New Details Emerge About Jimmy Carter’s Alleged 1977 UFO Briefing

Physicist Eric Davis claims President Jimmy Carter received a secret UFO briefing in 1977 about… Read More

3 hours ago

Congressman Eric Burlison Questions Alleged Massive Overseas UAP Structure

Eric Burlison raises questions about a massive alleged overseas UAP object reportedly too large to… Read More

4 weeks ago

VIDEO: Eyewitness Report UFO Triangle Captured on Night Vision in Northern California

A silent triangular UFO filmed with night vision over Sonoma, California. Raw footage captures fast… Read More

1 month ago

Something Is Moving Under the Oceans – and Navies Know It

Military submarines have tracked fast, intelligent objects underwater for decades. These USO encounters challenge science… Read More

1 month ago

Another Whistleblower Claims Deeper Layers of UFO Secrecy Inside Intelligence Agencies

A new anonymous whistleblower describes secret intelligence programs, unexplained aerospace phenomena, and deep layers of… Read More

2 months ago

Spanish Soldiers Fired on a Tall Humanoid After a UFO Landed Near Their Base (1971)

Spanish soldiers fired at a tall humanoid after a UFO descended near a radar base… Read More

2 months ago

This website uses cookies.